您好,欢迎光临“河南新能源汽车零部件产业知识产权运营中心”!
登录
注册
专利
商标
成果
许可
资讯
查询
服务热线:
0373-3871688
全部服务分类
知识产权交易
专利交易
商标交易
技术成果
找成果
专家团队
成果评价
知识产权服务
知识产权托管
知识产权代理
专利导航分析
知识产权维权
知识产权评估
科技政策咨询
知识产权交易
专利交易
专利许可转让
商标交易
专利开放许可
技术成果
找成果
专家团队
成果评价
知识产权投融资
专利质押融资
专利保险
知识产权服务
知识产权托管
知识产权代理
专利导航分析
知识产权维权
知识产权培训
知识产权评估
科技政策咨询
政策资讯
平台动态
新闻资讯
政策法规
关于我们
中心简介
团队风采
资质荣誉
联系我们
知识产权交易
Intellectual property transaction
专利交易
商标交易
当前位置:
首页
>
专利交易
技术领域:
不限
车辆动力系统
车身附件系统
车辆底盘系统
人工智能
生物工程
机械设备
信息传输、软件和信息技术服务
建筑建材
医药医疗
农林业
智能制造
化学冶金
制造业
居民生活
物理测试
电子与信息
医疗健康设备
资源与环境
生物与健康
材料与化工
装备与制造
高端制造装备
新一代信息技术
智能制造与自动化技术
信息技术与人工智能
生产制造设备
数字创意产业
新能源、新材料
环保新材料
新能源与节能技术
教育与医疗技术
驻新高校院所专利:
不限
河南师范大学
新乡医学院
河南科技学院
新乡学院
河南工学院
新乡职业技术学院
新乡医学院三全学院
新乡工程学院
长垣烹饪职业技术学院
河南物流职业学院
河南女子职业学院
安阳学院原阳校区
跨区域专利:
不限
粤港澳大湾区
京津冀地区
武汉经济协作区
长三角地区
法律状态:
不限
授权未缴费
专利维持
专利类型:
不限
外观设计
实用新型
发明专利
交易金额:
不限
5千以下
5千-5万
5-10万
10万以上
一种深度去除再生粗锡中锑铜杂质的方法
面议
资源与环境
查看详情
等离子-电弧复合焊接方法及焊接成品
面议
材料与化工
查看详情
一种单分散的氧化钇稳定氧化锆纳米粉体的制备方法
面议
生物与健康
查看详情
一种脂肪醇醚羧酸的制备方法
面议
资源与环境
查看详情
一种从烟灰中提取金属的方法
面议
资源与环境
查看详情
一种烟灰全资源化综合回收方法
面议
资源与环境
查看详情
一种提取回收烟灰中多金属的方法
面议
生物与健康
查看详情
一种基于氯盐浸出的烟灰综合回收方法
面议
资源与环境
查看详情
一种强织构组织金属透射电子显微表征制样方法
面议
材料与化工
查看详情
一种贵金属氧化物电极表面污物的去除方法
面议
生物与健康
查看详情
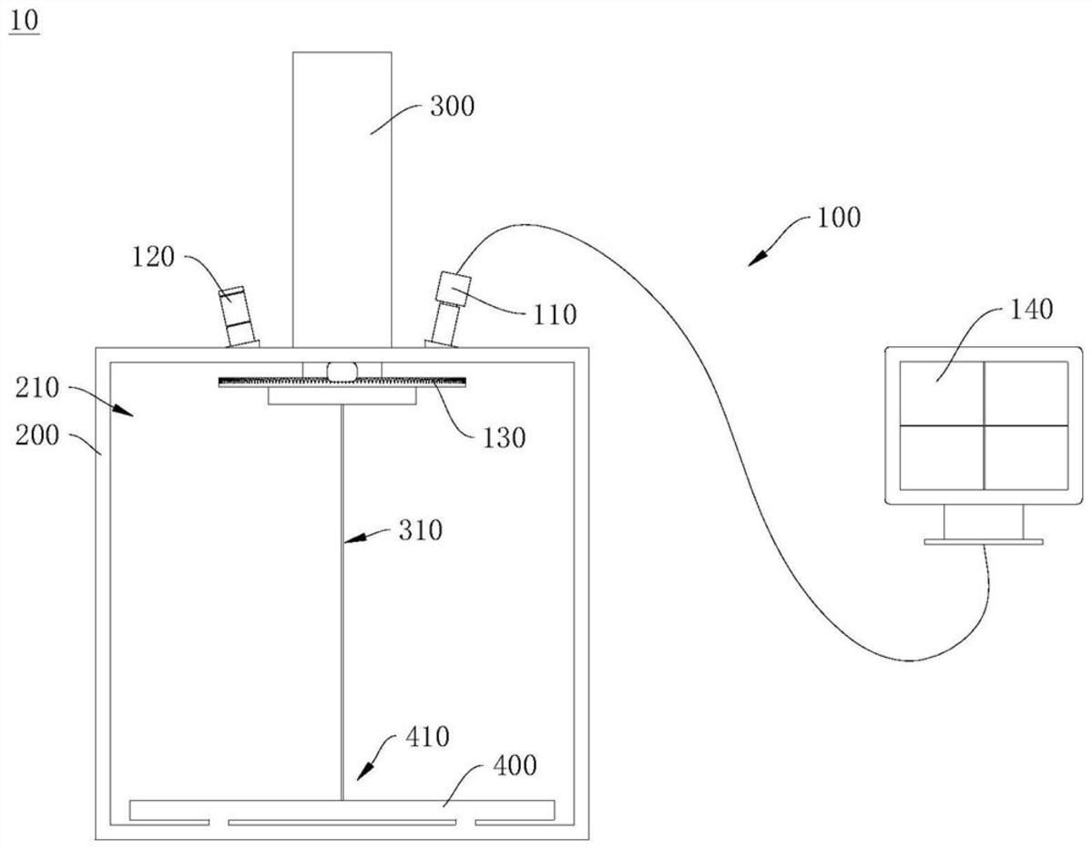
增材制造监测系统及电子束选区熔化增材制造设备
面议
装备与制造
查看详情
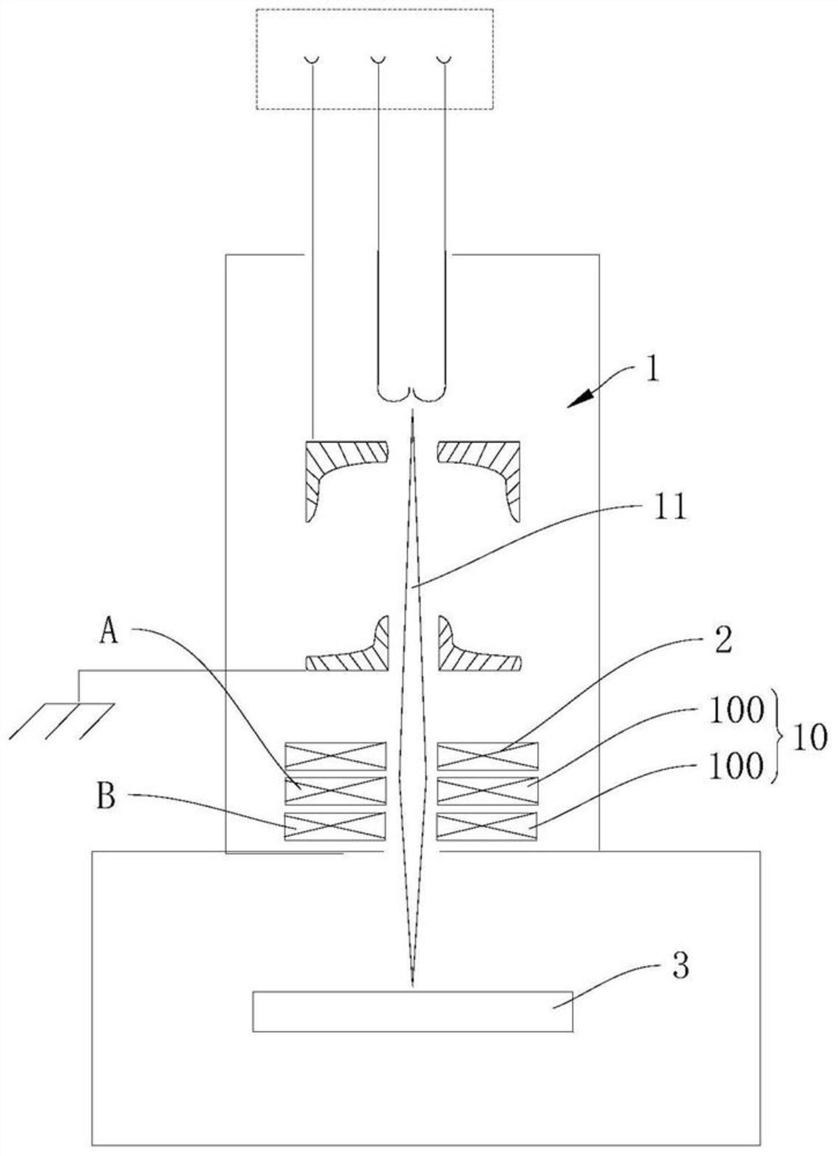
分体式电子束偏转线圈及电子束设备
面议
装备与制造
查看详情
1
2
3
4
5
6
...
139
140
共1672条 140页,到第
页
确定
抖音二维码
运营中心
微信公众号
知识产权
保护协会
0373-3871688